Grid Structure Loops: The Good, The Bad, and The Ugly
You need to know the difference. Grid Architecture can help.
Loop structures in dynamic systems can lead to feedback; in the case of deliberately designed feedback control systems this is a good thing. However, loop structures can occur in power grids unintentionally, and they can even go unnoticed until unexpected behavior occurs (never good). So, grid loops can be good, bad, or ugly. Let’s dig in.
The Good
Control systems routinely use negative feedback loops for regulation and stabilization. While the negative feedback principle has been around for a long time in various self-regulating arrangements (flyball governors for steam engines and chimney turbines for air flow and temperature regulation, for example), the use of negative feedback in electronic systems really commenced with the invention of the negative feedback electronic amplifier by Harold Black in 1928. Using feedback for stabilization and control is a foundational element of control engineering.
Feedback loops are used by design in the control of bulk power systems (see Fig. 1). In fact, in a conventional grid control system, there are many nested feedback control loops. It is a load-following power balance regulator.
Primary dispatchable generator control consists of three (non-nested) feedback loops (see Fig. 2).
Secondary generator control uses the PI portion of the venerable PID control for the balance function called frequency regulation (see Fig. 3). This loop updates on a 4-second or 6-second cycle (depending on the balancing authority).
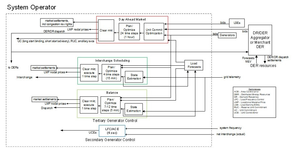
System imbalance (tertiary control) and scheduling are actually implemented as model predictive receding horizon controls in feedback loop form. This is true even when real time markets are used as part of the dispatch mechanism. Tertiary control typically operates on 5-minute and 15-minute cycles. Scheduling typically operates on day-ahead, intra-day, and hourly cycles, using 1-hour time steps (see Fig. 4).

Bulk power system stabilization with power electronics uses feedback as well.
At the distribution level, various feedback loops are used for Volt/VAR regulation, stabilization (D-STATCOM), and synchronization (see grid-following inverters).
The point is, these are all designed. These grid loop structures are what we mean by the Good. Next, we head into darker territory.
The Bad
On the other hand, there may be control loops in a power system that are not designed. These arise from hidden coupling at the distribution level when distributed energy resources (DERs)1 are being managed for grid operations. This doesn’t just result in feedback loops, it can cause complex, interconnected loops. Figure 5 illustrates several ways that hidden coupling can occur. Part of the coupling is always electrical but the rest is in how control processes are connected to grid edge devices.
The presence of DER aggregators can be problematic if the aggregators can have interpenetrated service areas. In such cases, the aggregators (each of which is a controller for some DERs) end up interacting via hidden coupling.2 The DER coupled controls also interact with the other existing control loops, such as Volt/VAR regulation and the control loops of the bulk power system. Figure 6 shows several control dependencies, any of which can be created through hidden coupling.
Control dependency can result in controllers interacting with, competing with, or even outright interfering with each other. Not good for distribution reliability.
This is what we mean by the Bad. Finally, we head into the Land of Naïve Compromises.
The Ugly
On the other other hand (ok, running out of hands here) feedback loops can arise in a rather insidious manner. This occurs when processes involving multiple grid entities are created without regard for structural concerns. We see this most often in the creation of hybrid or ad hoc DSO arrangements if edge resource aggregators are involved with wholesale market operations.3 Due to the large number of endpoints being controlled and the number of entities involved, loop structures can arise through the combination of entity interconnections and process flows.
This can be very hard to detect, due to organizational complexity.
These loops create the possibility of inadvertent feedback; also, passing coordination through processes in multiple entities (see Fig. 7) introduces latency stacking. The combination can easily lead to instability, as we have seen.
And of course, all of this is inside the outer loops shown in Figure 1.
If the update rates are slow (such as with day-ahead demand response), then loop instability problem may not manifest. But if the update rates are fast (15-minute cycle or faster) then feedback loop dynamics can cause unintended behavior. This has shown up as price oscillation in transactive system field trials, and oscillation of limits on PV power injection in distribution grid flexible connection arrangements.
Now that’s Ugly.
What’s a Grid Architect to do (or not do)?
First, what not to do:
Don’t try to smother the problem by tightening down injection limits. The extreme curtailment involved will leave a lot of DER value untapped.
Don’t try to dampen oscillations by introducing ad hoc low pass filters. Either use a rigorous control engineering approach (impractical, to say the least), or better, avoid non-essential loops in the first place (see below).
Instead, do this:
Use architecture that enables the things the grid is supposed to do, and precludes the things it is not supposed to do. Do this by applying structure devoid of tier bypassing, coordination gapping, and hidden coupling, as well as inadvertent loop formation (see Fig. 8). An appropriate structure comes from the Laminar framework developed from layered decomposition (see Section 8.3 in the Grid Architecture Cookbook). Note that using the proper structure has significant implications for entity roles and for interfaces. Other structures that comport with Laminar form are possible.
Employ coordination methods/algorithms that ensure that no coordination gaps or tier bypassing exist, and that account for aggregator interactions. In other words, actually coordinate all of the assets, entities, processes, and controls, just as you would coordinate protection.
Final comment
Now you see one reason why control theory is included in the GA stack pack.
Distribution grid-connected generation (such as rooftop PV); distributed energy storage; responsive loads (demand response).
In the US, some distribution utilities provide for DER participation in grid operation where the resources are controlled via a utility-operated DERMS (not aggregators), so the interaction issue is easier to manage.
In the US, FERC Order 2222 mandated a hybrid arrangement for DER participation in bulk wholesale markets but the unsustainability of aggregator business models has all but eliminated participation by residential aggregators in the electricity markets.










